Theo CarBuzz, BMW đã đăng ký bằng sáng chế mới đối với thiết kế đèn pha tích hợp ở khu vực lưới tản nhiệt.
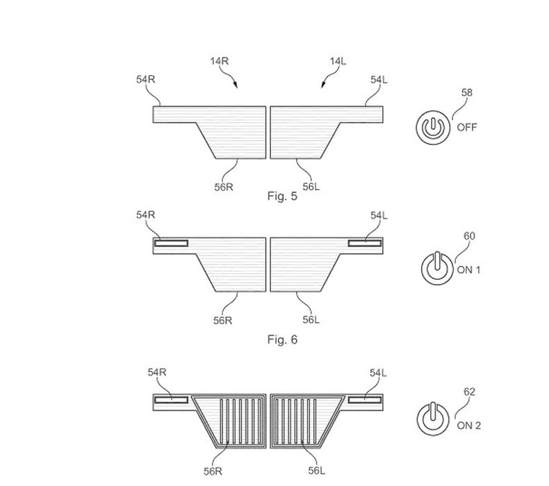
Theo đó, xe sẽ được trang bị một loại thấu kính đặc biệt, có thể tích hợp đèn pha vào bề mặt lưới tản nhiệt tạo ra một bảng điều khiển liền mạch. Về cơ bản, toàn bộ đầu xe điện BMW sẽ sử dụng nguyên một bề mặt phẳng duy nhất được tạo thành từ nhiều lớp đa dụng khác nhau. Thấu kính đặt dưới bề mặt này có khả năng hiển thị hàng loạt giao diện khác nhau.

Nguyên lý hoạt động của cụm đèn chiếu sáng tích hợp này bao gồm lớp ngoài cùng trong suốt làm từ polycarbonate và các lớp kính mờ phía trong. Giữa các lớp kính là lớp nhựa cách nhiệt, chống nước và kết nối với hệ thống đèn. Lớp nhựa trên có chức năng dẫn ánh sáng đến những khu vực đã định sẵn.

Bên cạnh chức năng chiếu sáng, phần thấu kính mới này còn có thể hiển thị thêm chế độ trang trí cũng như phân biệt các dòng xe. Theo những gì BMW công bố, thiết kế lưới tản nhiệt mới này còn giúp cho radar ở phần đầu xe hoạt động hiệu quả hơn.
Với thiết kế trên, BMW (hoặc có thể cả các chủ xe) có thể thay đổi “thiết kế” phía đầu xe thông qua hệ thống tùy chỉnh giao diện. Trang bị này được kỳ vọng có thể xuất hiện trên các dòng xe điện chủ lực cỡ lớn như i7 trong tương lai.
Thái Sơn (Tuoitrethudo)
Trang chủ